發布日期:2022-03-23 瀏覽:1112 次
試驗目的
反映絕緣油臟污、受潮、老化等使絕緣水平下降的狀況。
試驗儀器
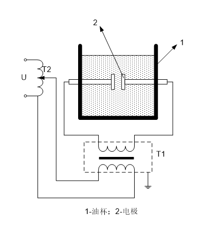
試驗接線

試驗步驟
(1)清洗油杯
長期未用的或受污染的電極和油杯必須先用汽油、笨或四氯化碳洗凈后烘干,洗滌的時宜使用潔凈的絲絹而不得用布或棉紗。經常使用的電極和油杯,只要在不使用時以清潔干燥的油充滿,并放于干燥防塵的干燥器中,使用前再用試油沖洗兩次以上即可。調整好電極距離,使其保持在(2.5±0.1)mm,并用塊規校準。試驗在室溫15-35℃,濕度不高于75%的條件下進行。
(2)油樣處理
試驗油樣送到試驗室后,應在不破壞原有密封狀態放置一段時間,以接近室溫。絕緣油工頻耐壓試驗在倒出油樣之前,應將儲油容器顛倒數次,使油樣混合,并盡可能不產生氣泡。然后用被試油將油杯和電極沖洗2-3次。再將被試油沿杯壁徐徐注入油杯。蓋上玻璃罩靜置10-15分鐘。
(3)加壓試驗
在試驗儀器上,對盛有油樣的電極兩端施加50HZ交流電壓,升壓速度在(2-3)kV/s,直至油隙擊穿,并記錄擊穿電壓值。這樣重復6次取平均值為測定值。
(4)廢油處理
試驗完畢后,妥善處理好廢油。應用專門容器存放,并定期集中處理,避免環境污染。
試驗標準

試驗注意事項
為了減少油擊穿后產生碳粒,應將擊穿時的電流限制在5mA左右。在每次擊穿后應對電極間的油充分攪拌,并靜置5min后再重復試驗。
試驗周期
《山東電力集團公司電力設備交接和預防性試驗規程》規定的周期為:
(1)投運前、大修后
(2)3年
優力克電力是電力試驗設備的生產廠家,我們的產品全程提供專業的技術服務。

本公司生產全面貫徹 ISO9001:2015 質量管理體系認證證書及文字商標和圖片商標注冊

本公司與武漢各大高校和武漢高壓研究所有著緊密合同關系,有著明細的技術優勢和穩定技術方案

公司具有專業的銷售和技術支持團隊隨時了解和客戶溝通產品的應用情況,提供一對一高效專業的服務

產品全部執行ISO9001質量管理體系,SMT自動化的生產,半成品檢測,成品檢測拷機,讓每一個產品都經過5次以上的100%測試,確保產品質量100%

公司具有精準的預期備貨和保持穩定的安全庫存,滿足客戶的緊急需求和批量性采購需求

公司產品每年抽樣送第三方檢驗(如湖北省技術監督局、武漢市計量院),符合出廠標準和第三方檢測指標要求